Használati útmutató Advantech ADAM-3968
Advantech
nincs kategorizálva
ADAM-3968
Olvassa el alább 📖 a magyar nyelvű használati útmutatót Advantech ADAM-3968 (2 oldal) a nincs kategorizálva kategóriában. Ezt az útmutatót 9 ember találta hasznosnak és 5 felhasználó értékelte átlagosan 4.8 csillagra
Oldal 1/2

ADAM-3968/20
68-pin SCSI-II to Three 20-pin Wiring
Terminal Module for DIN-rail Mounting
User’s Manual
ADAM and the ADAM logo are trademarks of Advantech
Part No. 2003396810 1st Edition
Printed in taiwan July 2000
Introduction
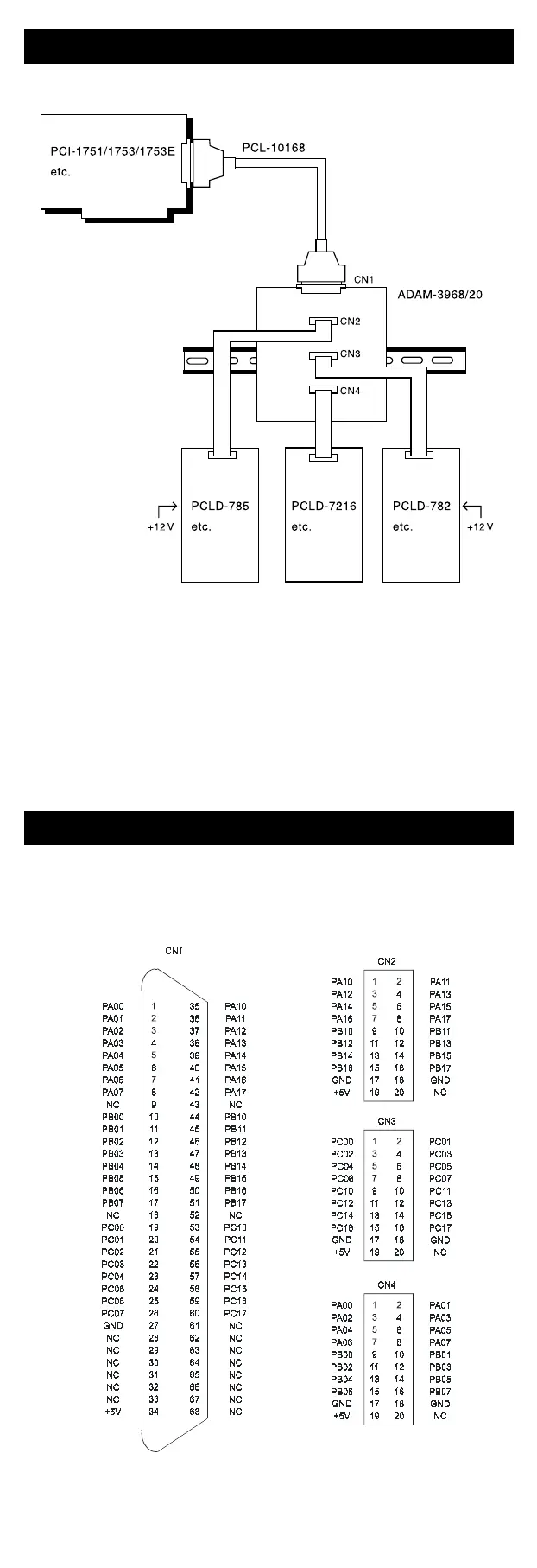
The ADAM-3968/20 is a 68-pin SCSI-II to three 20-pin wiring terminal
module for DIN-rail mounting. This terminal module can be readily
connected to the Advantech PC-Lab cards and allow easy yet reliable to
individual daughter boards.
Features
• Low cost universal DIN-rail mounting screw terminal module for
PC-LabCards with 68-pin SCSI-II connectors
• Converts one 68-pin SCSI-II connector to three 20-pin connectors
• Case dimensions: 77.5mm(W) X 80mm(L) X 54.3mm(H)
(3.1” X 3.2" X 2.1")

Pin Assignments
Architecture
Note: An +12V supply must be applied externally when the daughter
boards such as PCLD-782/785 etc. is connected via a 20-pin connector
through ADAM-3968/20.
Termékspecifikációk
Márka: | Advantech |
Kategória: | nincs kategorizálva |
Modell: | ADAM-3968 |
Szüksége van segítségre?
Ha segítségre van szüksége Advantech ADAM-3968, tegyen fel kérdést alább, és más felhasználók válaszolnak Önnek
Útmutatók nincs kategorizálva Advantech
8 Január 2025
3 Január 2025
3 Január 2025
3 Január 2025
3 Január 2025
3 Január 2025
3 Január 2025
1 Január 2025
1 Január 2025
1 Január 2025
Útmutatók nincs kategorizálva
- nincs kategorizálva Physa
- nincs kategorizálva Rohl
- nincs kategorizálva Salicru
- nincs kategorizálva Seville Classics
- nincs kategorizálva La Crosse Technology
- nincs kategorizálva JoeCo
- nincs kategorizálva Energizer
- nincs kategorizálva RCS
- nincs kategorizálva Panduit
- nincs kategorizálva Ulanzi
- nincs kategorizálva Allied Telesis
- nincs kategorizálva Boss
- nincs kategorizálva Teesa
- nincs kategorizálva Consul
- nincs kategorizálva Proviel
Legújabb útmutatók nincs kategorizálva
10 Április 2025
10 Április 2025
10 Április 2025
9 Április 2025
9 Április 2025
9 Április 2025
9 Április 2025
9 Április 2025
9 Április 2025
9 Április 2025