Használati útmutató Casio G-shock DWE-5600
Olvassa el alább 📖 a magyar nyelvű használati útmutatót Casio G-shock DWE-5600 (4 oldal) a óra kategóriában. Ezt az útmutatót 24 ember találta hasznosnak és 12.5 felhasználó értékelte átlagosan 4.4 csillagra
Oldal 1/4

使 用 手 冊
3526
TW-9
Ԅեఃܗ၍ଷឍൣ
ӶѓϜȂࡹ՟
B
໗ڎយѠһఃڸ၍ଷឍൣѓȄឍൣܼ
ఃޒᄙȂࣻᔗࡿұಓᡘұӶฬαȄ
ឍൣࡿұಓ
x
ޣژ்၍ଷឍൣ࣐ЦȂឍൣࡿұಓᡘұӶܛԥѓޠฬαȄ
TW-8
ྲ݃
ྲ݃ᘉ߬ฬȄఃឍൣѓѠٻྲ݃ӶᏄႜȞಒ
TW-10
ȟȃঈۢᏣᏄႜ
ܗᐍᘉൣቂȄ
x
ณ፤ឍൣѓޠః
/
၍ଷ೪࣐ۢեȂӉեࡹ
D
໗എѠᘉ߬ྲ݃Ȅ
x
စளٻңྲཽ݃ᕼႬԲޠჱڽȄ
x
ӶޣৣӏίȂྲ݃ޠӏ߬ԥѠᜳпࣽژȄ
x
Ꮔႜۗ༥Ȃࠍྲ݃ՍᅬྟȄ
TW-7
3.
࿌ೞᒶᐆȞȟȂࡹ
B
໗ඉ՞࣐Ɇ
00
ɇȄ்Ӷܼ
30
Վ
59
ϟࡹޠ
B
໗ȂࠍӶߖӲɆ
00
ɇޠӤϸђ
1
ȄӶ
00
Վ
29
ϟȂ
ࠍϸϛᡑȄ
4.
࿌ӉեڐуԆȞϟѵȟೞᒶᐆȞȟȂࡹ
B
໗ѠђτԆȄࡹ՟
B
໗
ѠାഁᡑԆȄ
x
Ϲඳ
12
ϊᇅ
24
ϊښȂ፝ӶԥԆࡹ
D
D
໗Ȅ
5.
ڸС೪ۢࡤȂࡹ
A
໗ߖӲѓȄ
x
ᐄСՍ೪ۢȄ
x
СѠпӶ
2000
Ԓ
1
У
1
СՎ
2099
Ԓ
12
У
31
Сϟ೪ۢȄ
x
࿌ԥᒶȂ்ϛᐈձӉեࡹ໗စႇϸយȂࠍЦȂٯйКᒽՍ
ߖӲѓȄ
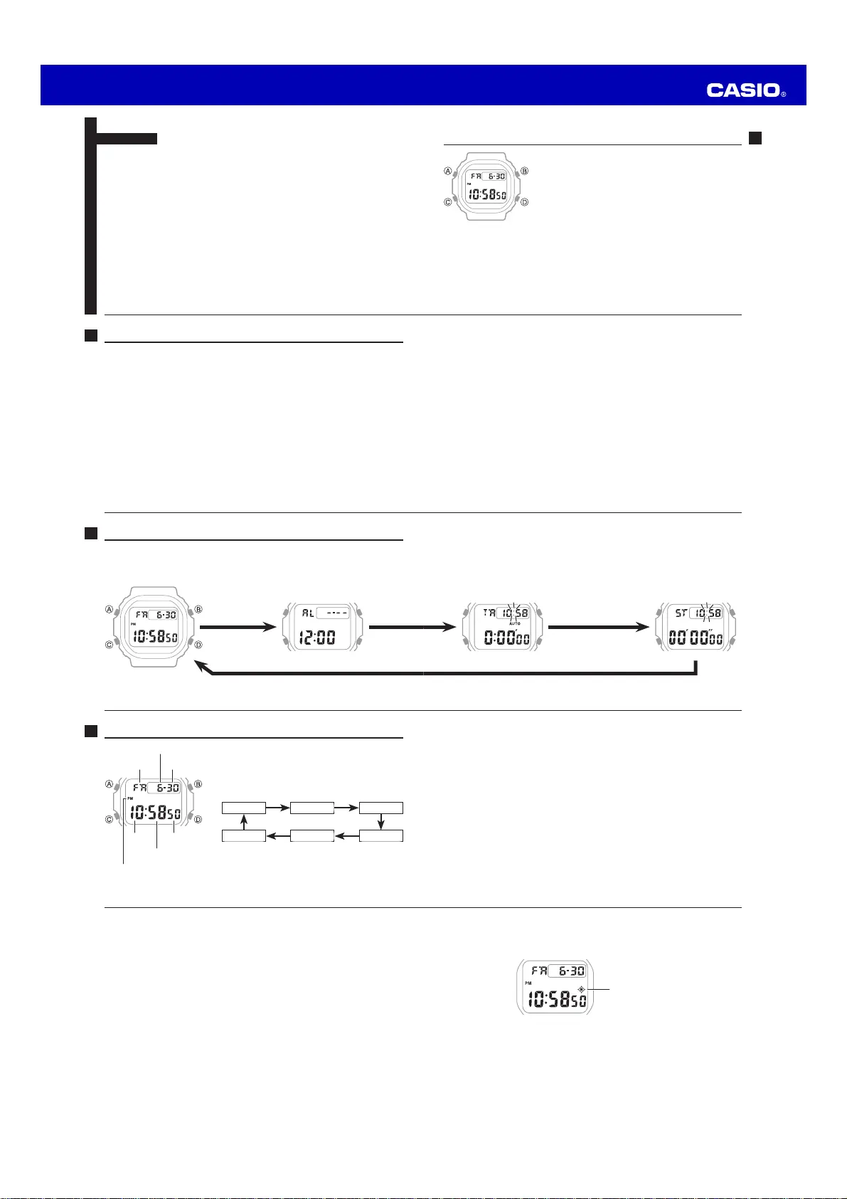
TW-6
ѓ
Ԅե೪ۢІС
1.
ӶѓϜࡹ
A
໗Ȅӱೞ
ᒶᐆ
ՅӶฬα
Ȅ
2.
ࡹ
C
໗ٸίұזᡑᒶȄ
ϸ
УС
C
C
CC
C
Ԓ
C
У
С
ϸ
ίЀࡿұಓ
TW-5
C
ᒽѓ
ۢᏣѓ
C
x
ӶӉեѓϜໍΠᐈձࡤȂࡹ
C
໗ѠߖӲѓȄ
x
ӶӉཏѓϜȂࡹ
D
໗Ѡᘉ߬ྲ݃ȄӶ்ܺ
D
໗ޠڎយࡤȂྲ݃ᅬྟȄ
TW-4
ഌ՞ᇴ݃
x
ࡹ
C
໗ѠᒶඳөѓȄ
ѓ
Ꮔႜѓ
CC
TW-3
ۢᏣѓ
.................................................................................................. TW-14
Ԅե೪ۢঈ
................................................................................ TW-14
ԄեٻңঈۢᏣ
............................................................................. TW-15
Ԅեఃܗ၍ଷՍፓѓ
............................................................... TW-16
ᒽѓ
..................................................................................................... TW-18
Ԅեข໕စႇ
................................................................................ TW-18
ԄեଅᓄϜഋ
............................................................................... TW-19
Ԅեข໕ಒΚӫڸಒΡӫᒶКޠԚ
.............................................. TW-19
............................................................................................................ TW-20
ᐈձޤ
..................................................................................................... TW-23
ңЙᆱៗߴᎵ
.............................................................................................. TW-31
TW-2
ҭᓄ
ᜱܼҐᇴ݃
................................................................................................ TW-1
ഌ՞ᇴ݃
....................................................................................................... TW-4
ѓ
....................................................................................................... TW-6
Ԅե೪ۢІС
............................................................................... TW-6
Ԅեఃܗ၍ଷឍൣ
........................................................................ TW-9
Ꮔႜѓ
..................................................................................................... TW-10
Ԅե೪ۢᏄႜ
................................................................................ TW-11
ԄեЦᏄႜ
................................................................................... TW-13
Ԅեఃܗ၍ଷᏄႜܗᐍᘉൣ
............................................................ TW-13
TW-1
ᜱܼҐᇴ݃
x
ࡹ໗пშϜܛұޠԆҕߓұȄ
x
፝ݨཏȂҐᇴ݃ϜޠКᒽඩშѬକՄձңȂКᒽޠ
ᄃርѵᢏѠཽᇅඩშϜܛұޠԥܛϛӤȄ
TW
ϜНȞᖆᡞȟ
དᗃ்ᒶᗋћ՚ዊȞ
CASIO
ȟКᒽȄ
࣐ΠٻҐКᒽޠٻңჱڽႁژܛ೪ޠԒȂଡ଼፝ၐಡᎨٯᒴԉҐᇴ݃Ϝޠᇴ
݃ȂЏڐɆᐈձޤɇІɆңЙᆱៗߴᎵɇөϜޠٲȄ
MA2304-ChA
© 2023 CASIO COMPUTER CO., LTD.
Termékspecifikációk
| Márka: | Casio |
| Kategória: | óra |
| Modell: | G-shock DWE-5600 |
Szüksége van segítségre?
Ha segítségre van szüksége Casio G-shock DWE-5600, tegyen fel kérdést alább, és más felhasználók válaszolnak Önnek
Útmutatók óra Casio
30 Március 2025
23 Március 2025
23 Március 2025
23 Március 2025
23 Március 2025
23 Március 2025
23 Március 2025
23 Március 2025
6 Január 2025
23 December 2024
Útmutatók óra
- Teesa
- Stuhrling
- ECG
- ART
- Asics
- Ferrari
- DB Technologies
- Konig
- HYT
- Ecom
- Wonky Monkey
- Xonix
- Timex
- Eurochron
- Christiaan Van Der Klaauw
Legújabb útmutatók óra
10 Április 2025
10 Április 2025
3 Április 2025
3 Április 2025
26 Március 2025
26 Március 2025
16 Január 2025
16 Január 2025
16 Január 2025
16 Január 2025