Használati útmutató Konig & Meyer 23850
Konig & Meyer
Háromlábú
23850
Olvassa el alább 📖 a magyar nyelvű használati útmutatót Konig & Meyer 23850 (2 oldal) a Háromlábú kategóriában. Ezt az útmutatót 16 ember találta hasznosnak és 8.5 felhasználó értékelte átlagosan 5.0 csillagra
Oldal 1/2

KÖNIG & MEYER GmbH & Co. KG
Kiesweg 2, 97877 Wertheim, www.k-m.de
23850-311-55 Rev.04 03-80-305-00 1/16
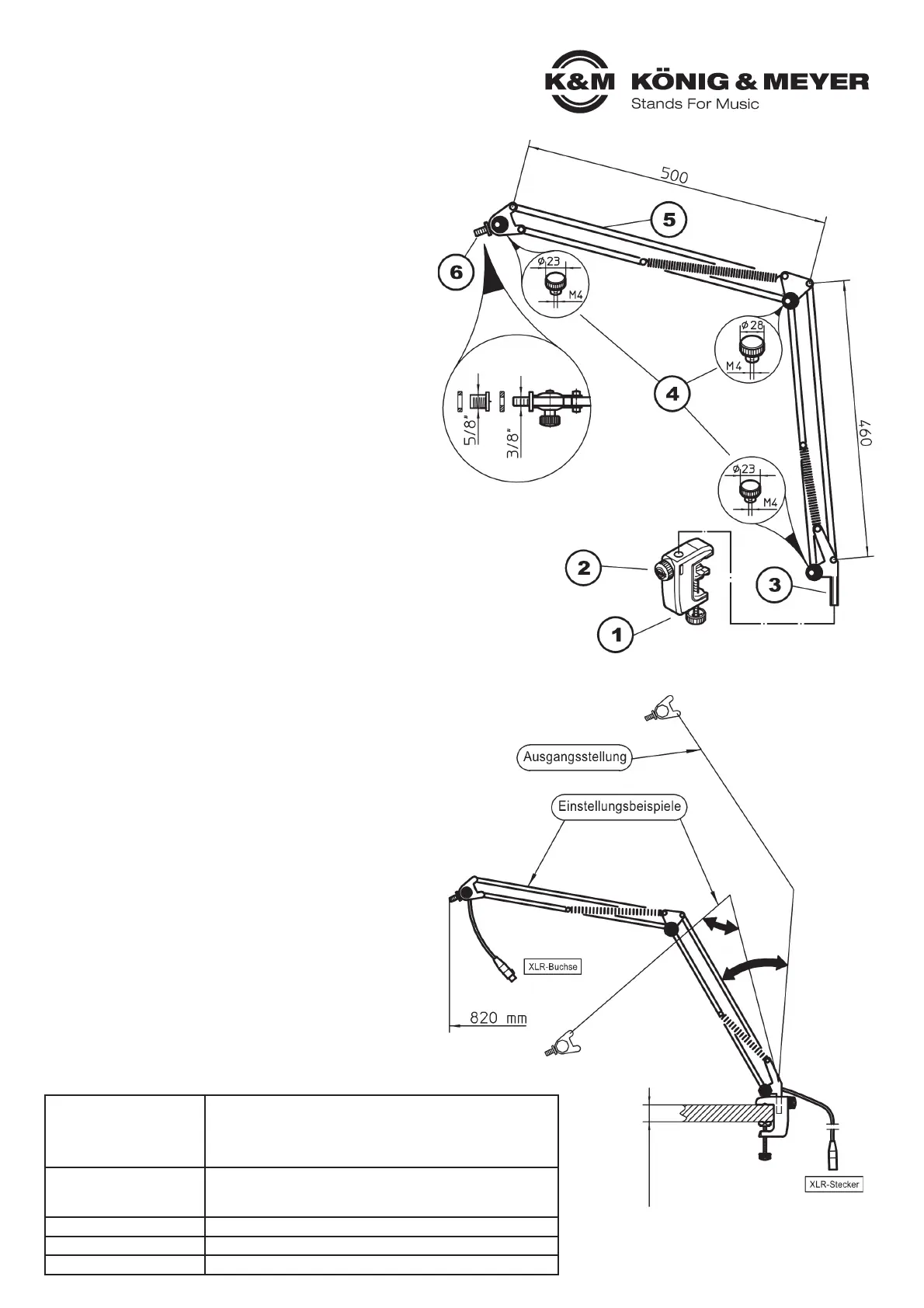
SICHERHEITSHINWEISE
AUFBAU
EINSTELLUNGEN
TECHNISCHE DATEN / SPEZIFIKATIONEN
- Tischklammer 1 muss fest fixiert sein
- max. Last: 0,8 kg
BEACHTE:
Im unbelasteten Zustand zieht das Federband die Arme in die senkrechte Ausgangsstellung. Zur Vermeidung dieser unkontrollierten
Bewegung ist vor Entfernen des Mikrofons bzw. vor dem Lösen der Rändelmuttern der Mikrofonarm 5 mit der Hand festzuhalten.
1. Tischklammer 1 an Platte befestigen (max. 52 mm)
2. Stab 3 des Mikrofonarmes in Öffnung der
2. Tischklammer 1 stecken und sichern durch
2. Festziehen der Klemmschraube 2.
3. Gewindeanschluß 6 wählen und Mikrofon befestigen
4. Mikrofonarm einstellen wie unter FUNKTIONSWEISE beschrieben
Der Mikrofonarm ist äußerst flexibel einstellbar.
Am besten funktioniert das bei Mikrofonen welche der Nennlast von
0,8 kg nahekommen. Dies wirkt der Federvorspannung optimal
entgegen, so dass nahezu jede mögliche Position erreicht wird.
Siehe Kapitel FUNKTIONSHINWEISE.
KABEL
Praktisch, sicher und eine gute Optik:
dank hochwertigem, innen verlegtem Mikrofonkabel
- der Mikrofonarm ist sofort betriebsbereit
- Länge 6 m, davon 1 m im Mikrofonarm
- Mikroseitig: 3-polige XLR-Buchse
- Mixerseitig: 3-poliger XLR-Stecker
Material
Mikrofonarme: Stahlprofil, schwarz
Federn, Kleinteile: Stahl, schwarz
Führungen, Griffe: Kunststoff, schwarz
Tischklammergehäuse: Alu, schwarz
Abmessungen
max. Auslage: 820 mm
Armlängen: 500 + 460 + 60 mm
Klemmbereich: bis 48 mm
Gewicht 1,65 kg
Karton, Bruttogewicht H x B x T: 530 x 120 x 65 mm, 1,92 kg
Zubehör (optional) Tisch-Flansch 23855
23850 Mikrofonarm
- für Tonstudios und Multimedia-Arbeitsplätze
- Leichtgängige und flexible Positionierung von Mikrofonen
- Tragkraft: bis zu 0,8 kg bei 0,9 m Reichweite
- mit innenliegendem Mikrofonkabel:
- Länge: 6 m, 3-polige-XLR-Anschlüsse
- mit Tischklammer
- Gewindeanschlüsse 3/8" und 5/8"
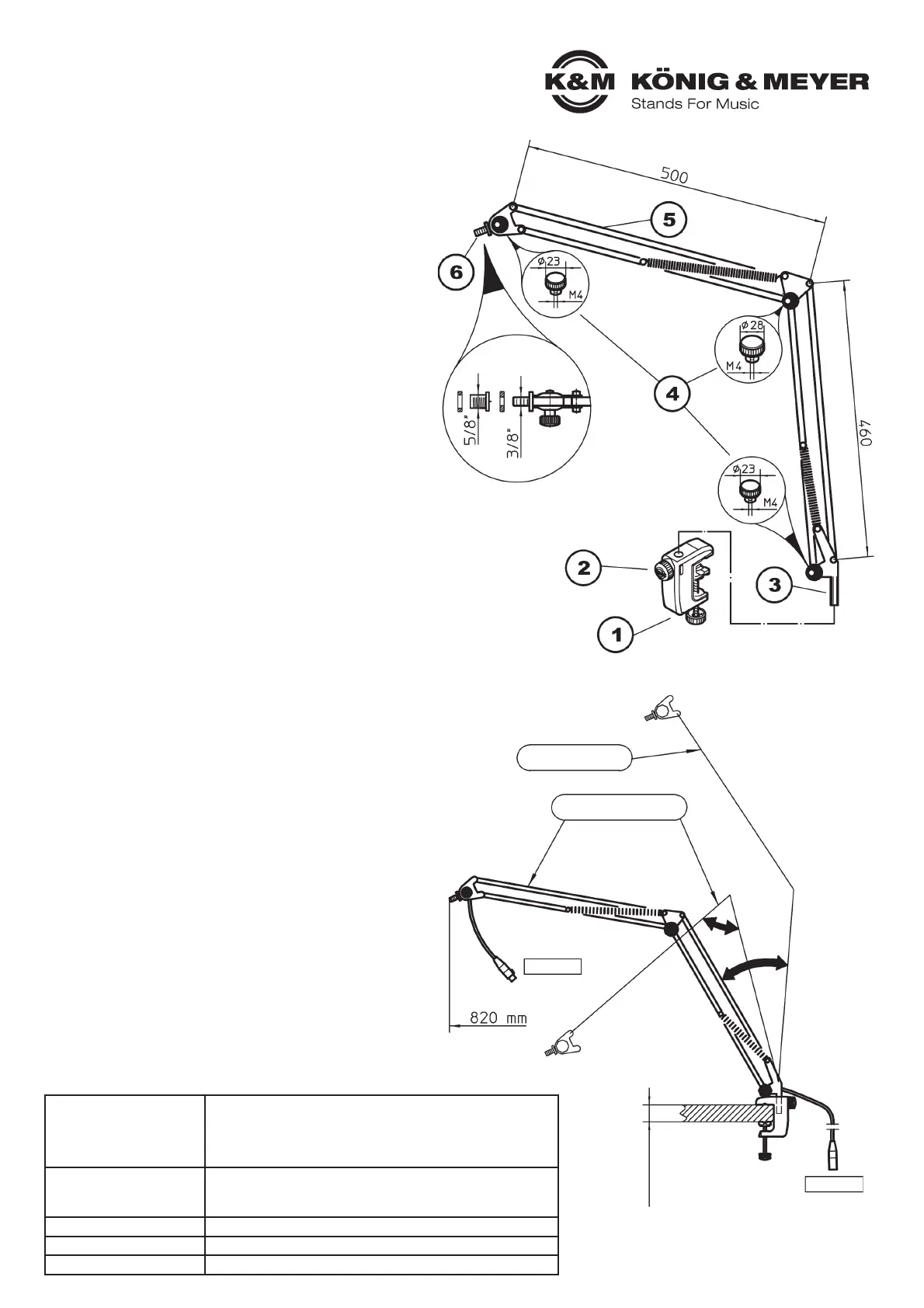
FUNKTIONSWEISE
Das einwandfreie Funktionieren des Mikrofonarmes basiert auf dem
Zusammenspiel dreier Faktoren.
1. Mikrofongewicht - 2. Federbandspannung -
3. Festigkeit der Rändelmuttern 4
- Ohne Mikrofon und bei nicht angezogenen Rändelmuttern
- wandern die Arme durch die Spannung des Federbandes in ihre
- Ausgangsposition (senkrechte Lage).
- Die Last des Mikrofons wirkt der Federbandspannung entgegen,
- so dass der Arm mehr oder weniger exakt die gewünschten Position
- einnimmt.
- Damit das Mikrofon die vorgesehene Position hält, werden die Rändelmuttern 4 etwas
- angezogen - aber nur soviel um eine selbständige Verstellung der Arme zu verhindern.
- Richtig eingestellt lässt sich der Mikrofonarm in jede mögliche Position ziehen bzw.
- schieben - und das ohne lästiges Öffnen und Schließen der Rändelmuttern.
Vielen Dank, dass Sie sich für dieses Produkt entschieden haben.
Diese Anleitung informiert Sie über alle wichtigen Schritte bei
Aufbau und Handhabung. Wir empfehlen, sie auch für den
späteren Gebrauch aufzubewahren.
max. 48 mm

KÖNIG & MEYER GmbH & Co. KG
Kiesweg 2, 97877 Wertheim, www.k-m.de
23850-311-55 Rev.04 03-80-305-00 1/16
SAFETY NOTES
SETUP
ADJUSTMENTS
TECHNICAL DATA
- Table Clamp 1 must be firmly affixed (screwed on tightly)
- Load bearing weight maximum 0.8 kg
NOTE:
When the spring is not loaded the arm returns to the original position.
To avoid this uncontrolled movement hold onto the microphone arm 5 prior to removing the microphone or loosening the wing nuts.
1. Clamp the table clamp 1 onto the table (max. 52 mm)
2. Place the microphone arm pin 3 into the opening of
2. the table clamp and tighten the clamp screw 2.
3. Select the connector threading 6 and attach the microphone
4. Adjust the microphone as described in the MODE OF OPERATION
4. section
The microphone arm is very adjustable.
The microphones most suited for this microphone arm are those
that come closest to meeting the load bearing nominal weight of
0.8 kg. The weight of the microphone acts as a counterweight to
the spring, such that the arm can be placed in the desired position.
See MODE OF OPERATION SECTION.
CABEL
Practical, secure and looks great:
thanks to the high quality, internal microphone cable
- the microphone arm is immediately ready for use
- Length 6 m, of that 1m in the microphone arm
- On the microphone side: 3-pin XLR-female plug
- On the mixer 3-pin XLR male plug
Material
Microphone arm: steel section, black
Springs, small components: steel, black
Guides, handles: plastic, black
Table clamp housing: aluminum, black
Dimensions
max. extension 820 mm
Arm length: 500 + 460 + 60 mm
Clamping area: up to 48 mm
Weight 1.65 kg
Box, gross weight H x W x D: 530 x 120 x 65 mm, 1.92 kg
Accessories (optional) Table flange 23855
23850 Microphone desk arm
- particularly suited for broadcast studios and multi-media workstations
- for flexible and smooth positioning of studio microphones
- load bearing weight: up to 0.8 kg and 0.9 m reach
- with internal microphone cable:
- Length: 6m, 3-pin-XLR connections
- with a table clamp
-Threaded connectors 3/8" and 5/8"
MODE OF OPERATION
The microphone arm works perfectly as result of the interaction
between 3 factors.
1. Microphone weight - 2. Spring tension -
3. Tight fit of the wing nuts 4
- Without the microphone and when the wing nuts are not
- tightened the arm returns to its original position through the
- tension of the spring (vertical position).
- The weight of the microphone acts as a counterweight to the
- spring, such that the arm is placed in the desired position.
- To ensure that the microphone stays in the desired position, the wing nuts 4 are tightened
- (do not over-tighten) - tighten only to the point that the arm does not move by itself.
- Correctly set, the microphone arm can be pulled and pushed to any position - without having
- to constantly reset the wing nuts.
Thank you for choosing this product.
The instructions provide directions to all of the important set up
and handling steps. We recommend you keep these instructions
for future reference.
Original position
Adjustment examples
XLR-Socket
XLR-Plug
max. 48 mm
Termékspecifikációk
Márka: | Konig & Meyer |
Kategória: | Háromlábú |
Modell: | 23850 |
Szüksége van segítségre?
Ha segítségre van szüksége Konig & Meyer 23850, tegyen fel kérdést alább, és más felhasználók válaszolnak Önnek
Útmutatók Háromlábú Konig & Meyer
30 Augusztus 2024
30 Augusztus 2024
30 Augusztus 2024
29 Augusztus 2024
29 Augusztus 2024
29 Augusztus 2024
18 Augusztus 2024
18 Augusztus 2024
Útmutatók Háromlábú
- Háromlábú Oben
- Háromlábú AVerMedia
- Háromlábú Sunpak
- Háromlábú Proaim
- Háromlábú Omnitronic
- Háromlábú Trust
- Háromlábú Celly
- Háromlábú Benro
- Háromlábú Bauhn
- Háromlábú Kaiser Fototechnik
- Háromlábú REVO
- Háromlábú Olloclip
- Háromlábú GoPro
- Háromlábú Dorr
- Háromlábú Ravelli
Legújabb útmutatók Háromlábú
4 Április 2025
4 Április 2025
4 Április 2025
4 Április 2025
4 Április 2025
4 Április 2025
3 Április 2025
2 Április 2025
2 Április 2025
2 Április 2025