Használati útmutató Gewiss GW90788
Gewiss
mozgásérzékelő
GW90788
Olvassa el alább 📖 a magyar nyelvű használati útmutatót Gewiss GW90788 (4 oldal) a mozgásérzékelő kategóriában. Ezt az útmutatót 7 ember találta hasznosnak és 4 felhasználó értékelte átlagosan 4.6 csillagra
Oldal 1/4

I
FUNZIONE
Rilevamento della presenza interna.
I rilevatori di presenza sono dispositivi che rilevano piccoli movimenti
all’interno della stanza, entro un raggio di circa 6 m (montati ad
un’altezza di 2,5 m) e inviano telegrammi di dati tramite bus KNX. Per
esempio, questi dispositivi accendono la luce della stanza e la lasciano
accesa fino a quando non viene più rilevata alcuna presenza oppure fino a
quando c’è sufficiente luce naturale.
Possono essere usati, ad esempio, in uffici, scuole, edifici pubblici o
abitazioni. In caso di rilevamento di movimento dipendente dalla luce, il
dispositivo controlla costantemente il livello di luminosità nella stanza e
quando la luce naturale è sufficiente, il dispositivo spegne l’attuatore per
l’illuminazione artificiale, anche se la stanza è occupata.
La soglia di luminosità può essere regolata con ETS. I movimenti
registrati sono valutati tramite la configurazione impostata in ETS.
Il sensore di luminosità integrato misura costantemente il livello di
luminosità ed elabora questa informazione nell’applicazione.
Il rilevatore di presenza con controllo della luminosità (art. GW 90 788)
garantisce costantemente la corretta luminosità impostata in ETS. Il
dispositivo calcola la quantità totale di luce naturale e di luce artificiale.
La luminosità è mantenuta costante attenuando la luce artificiale. Se non
viene rilevato alcun movimento o è sufficiente la luce naturale, il
dispositivo spegne la luce. La funzione del trasmettitore IR (art. GW 90
788) è definita dall’applicazione. Le seguenti funzioni possono essere
effettuate con un telecomando IR Gewiss adatto (art. GW 90 791).
– Modifica delle configurazioni individuali del rilevatore di presenza.
– Controllo (remoto) di altri dispositivi KNX mediante telegrammi del bus.
Il trasmettitore IR del rilevatore di presenza è in grado di gestire fino
a 50 canali. L’assegnazione corrispondente viene effettuata in ETS.
INSTALLAZIONE
Raggio d’azione
I movimenti relativi di una persona seduta risultano minimi per il rilevatore
di presenza. Minore è la distanza tra la persona rilevata e il rilevatore di
presenza, migliore sarà il rilevamento dei movimenti più piccoli.
Se una persona cammina, è disponibile un raggio d’azione maggiore.
Il livello di riferimento per il rilevamento è il pavimento.
Anche la posizione del rilevatore di presenza in rapporto alla direzione di
movimento influenza il rilevamento.
Altezze di montaggio
Altezza di montaggio Raggio d’azione
2.0 m 11 m
2.5 m 14 m
3.0 m 17 m
L’altezza di montaggio esercita un effetto diretto sull’area e la sensibilità
del rilevatore di movimento. L’altezza di montaggio ideale è 2,50 m.
Installazione
Rispettare le istruzioni riportate di seguito per il montaggio del rilevatore
di presenza:
– Montare su una base fissa per evitare malfunzionamenti che possono
essere causati dal movimento del rilevatore.
– Per impedire l’accensione non necessaria del carico, il sito di
installazione dovrebbe essere scelto in modo che l’apparecchio per
illuminazione acceso non sia montato direttamente nel raggio d’azione
del rilevatore di presenza.
– L’installazione del dispositivo sopra un apparecchio per illuminazione
dovrebbe essere evitata (ad es. una lampada standard). La radiazione
termica dell’apparecchio di illuminazione può influenzare la funzione
del rilevatore. Inoltre, con l’incidenza diretta della luce, non è più
possibile la misurazione della luminosità. Se sono montati apparecchi
di illuminazione accesi nel raggio d’azione del rilevatore di presenza, è
necessario mantenere una distanza fino a 3 m ad un carico elevato .
– L’allineamento di settori (A, B, C, D).
I settori sono contrassegnati con le lettere A, B, C e D nelle applicazioni
ETS. L’allineamento corrispondente del dispositivo è visibile sull’etichetta
del modello e nel grafico riportato di seguito.
Allineamento dei settori, vista posteriore del dispositivo
RILEVATORE DI PRESENZA
Articolo n. GW 90 789
RILEVATORE DI PRESENZA CON CONTROLLO
COSTANTE LUMINOSITÀ E TRASMETTITORE IR
Articolo n. GW 90 788
instabus
instabus
Merten
Merten
ARGUS Présence
ARGUS Présence
A
BD
C
OK
OK
OK
14,0 m
2,5 m

Allineamento dei settori, vista di lato del collegamento bus
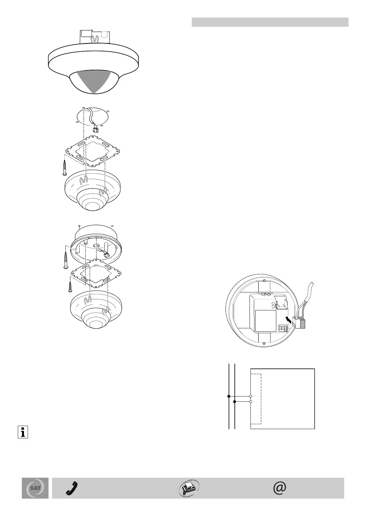
Montaggio a incasso:
Montaggio a parete:
Per il montaggio a incasso, l’anello di fissaggio fornito è fissato con due
viti a una scatola di installazione da 60.
Per il montaggio a parete, l’anello di fissaggio è montato nell’alloggiamento
a parete (art. GW 90 785) disponibile come accessorio.
Installazione di più dispositivi:
Se si installano più dispositivi uno di fianco all’altro per monitorare
stanze più grandi o corridoi più lunghi, deve essere verificato che il
raggio d’azione dei singoli rilevatori si sovrapponga.
Quando si usa la funzione IR, è necessario tener conto di una
separazione dei canali IR. Se si installano più dispositivi in un’unica area,
deve essere parametrizzato un canale diverso per ogni dispositivo oppure
è possibile avere un unico dispositivo centrale che elabora i comandi IR.
Nota:
Per garantire la piena funzionalità dell’applicazione con ETS2, è
necessario utilizzare ETS2 versione 1.1. o superiore con Service
Release A o superiore. Service Release è gratuito e può essere
scaricato all’indirizzo “http://www.knx.org”.
D
ATI TECNICI
Tensione nominale: CC 24 V (+6 V/-4 V)
Collegamento al bus: mediante morsetto di collegamento bus
Consumo di corrente: 8 mA max
Raggio d’azione: 360°
Numero livelli: 6
Numero zone: 136 con 544 segmenti di commutazione
Sensore di luminosità: infinite possibilità di regolazione in ETS tra circa
10 e 2000 lux. I valori misurati dal sensore deviano in generale dalle
condizioni di luce nel luogo principale di utilizzo (ad es. superficie di
lavoro). L’entità della deviazione dipende dal sito di installazione del
sensore, dalle proprietà della stanza (riflesso dell’apparecchio di
illuminazione, tipo di vernice sulle pareti e dalle superfici) e dagli
apparecchi di illuminazione utilizzati.
Altezza di montaggio: 2 m - 5 m, ideale 2,5m
Inizializzazione: A causa della velocità limitata del telegramma, un
telegramma non può essere generato prima che siano trascorsi 20 sec.
dall'inizializzazione.
Elementi per la visualizzazione a display: LED rosso per controllare la
programmazione
Elementi operativi: Pulsante di programmazione sul retro del dispositivo
Temperatura ambiente
- Funzionamento: - da 5°C a +45°C (con temperature > 30°C, la
rilevazione del movimento è limitata)
- Conservazione: - da 25°C a +45°C
- Trasporto: - da 25°C a +70°C
Tipo di protezione: IP 20
Linee guida CE: conforme alla linea guida EMC 89/336/CEE
Trasmettitore IR: (solo per art. GW 90 788)
Numero di canali IR:
10 per controllare i dispositivi KNX
10 per configurare il rilevatore di presenza KNX;
Canale n. 1 - 50
Unità operative IR: telecomando IR (art. GW 90 791)
Esempio di collegamento:
Il rilevatore di presenza è collegato mediante un morsetto di
collegamento bus e fissato a scatto sull’anello di fissaggio.
Esempio di collegamento:
A Accoppiatore bus
B Rilevatore di presenza
B
B
A
C
B
L
T
Bus
+ -
AB
+39 035 946 111
8.30 - 12.30 / 14.00 - 18.00
lunedì ÷ venerdì - monday ÷ friday
+39 035 946 260
sat@gewiss.com
www.gewiss.com
24h
Ai sensi dell’articolo 9 comma 2 della Direttiva Europea 2004/108/CE si informa che responsabile dell’immissione del prodotto sul mercato Comunitario è:
According to article 9 paragraph 2 of the European Directive 2004/108/EC, the responsible for placing the apparatus on the Community market is:
GEWISS S.p.A Via A. Volta, 1 - 24069 Cenate Sotto (BG) Italy Tel: +39 035 946 111 Fax: +39 035 945 270 E-mail: qualitymarks@gewiss.com

GB
FUNCTION
Indoor presence detection.
The Presence detector devices detect small movements within a radius of
approx.6 m (mounting height 2.5 m) in the room and send data
telegrams via the KNX bus. The devices switch the light on in the room
for example and leave it switched on until presence is no longer detected
or there is sufficient natural light.
The devices can be used, for example, in offices, schools, public
buildings or at home. In the case of brightness-dependent movement
detection, the device continually checks the brightness level in the room
and when there is sufficient natural light, the device switches off the
actuator for artificial lighting, despite the room being occupied.
The overshoot time can be adjusted using the ETS.
Registered movements are evaluated via the configuration set in ETS.
The integrated light sensor continually measures the brightness level and
processes this information in the application.
The Presence detector with lighting control (art. GW 90 788) continually
ensures the correct brightness which is set in ETS. The device calculates
the total of daylight and artificial light. The brightness is maintained at a
constant by dimming the artificial light. If no movements are detected or
the daylight alone is sufficient, the device switches the lighting off.
The function of the IR receiver (art. GW 90 788) is defined by the
application. The following functions can be carried out with a suitable
Gewiss IR remote control (art. GW 90 791).
– Change individual configurations of the Presence detector.
– (Remotely) control other KNX devices via bus telegrams.
The IR receiver of the Presence detector can manage up to 50
channels. The corresponding assignment is made in the ETS.
INSTALLATION
Area of detection
The relative movements of a seated person appear small to the Presence
detector. The shorter the distance between the detected person and the
Presence detector, the better smaller movements are detected.
When a person is walking, a larger area of detection is available.
The reference level for detection is the floor.
Also the position of the Presence detector in relation to the moving
direction influences the detection.
Mounting heights
Mounting height Detection area
2.0 m 11 m
2.5 m 14 m
3.0 m 17 m
The mounting height has a direct effect on the range and sensitivity of
the movement detector. The optimum mounting height is 2.50 m.
Installation
Observe the following when installing the Presence detector:
– Mount on a fixed base to avoid maloperations which can be caused by
the movement of the detector.
– To prevent the load from being switched on unnecessarily, the
installation site should be selected so that the switched luminaire is
not directly mounted in the area of detection of the presence detector.
– The installation of the device above a luminaire should be avoided (e.g.
standard lamp). The heat radiation of the luminaire can influence the
function of the detector. The brightness measurement can also no
longer be carried out when there is a direct light incidence. If switched
luminaires are mounted in the area of detection of the Presence
detector, a distance of up to 3 m must be maintained at a high
connected load.
– The alignment of sectors (A, B, C, D).
The sectors are marked with A, B, C and D in the ETS applications. The
corresponding alignment of the device can be seen on the type label
and in the following graphic.
Alignment of the sectors; rear view of the device
PRESENCE DETECTOR
ArtIcle no. GW 90 789
PRESENCE DETECTOR WITH LIGHTING
CONTROL AND IR RECEIVER
ArtIcle no. GW 90 788
instabus
instabus
Merten
Merten
ARGUS Présence
ARGUS Présence
A
BD
C
OK
OK
OK
14,0 m
2,5 m
Termékspecifikációk
Márka: | Gewiss |
Kategória: | mozgásérzékelő |
Modell: | GW90788 |
Szüksége van segítségre?
Ha segítségre van szüksége Gewiss GW90788, tegyen fel kérdést alább, és más felhasználók válaszolnak Önnek
Útmutatók mozgásérzékelő Gewiss
27 Augusztus 2024
27 Augusztus 2024
27 Augusztus 2024
27 Augusztus 2024
27 Augusztus 2024
27 Augusztus 2024
27 Augusztus 2024
27 Augusztus 2024
27 Augusztus 2024
27 Augusztus 2024
Útmutatók mozgásérzékelő
- mozgásérzékelő EtiamPro
- mozgásérzékelő Philips
- mozgásérzékelő Steren
- mozgásérzékelő EQ3
- mozgásérzékelő Aqua Joe
- mozgásérzékelő Kogan
- mozgásérzékelő ABB
- mozgásérzékelő Wentronic
- mozgásérzékelő Intertechno
- mozgásérzékelő Legrand
- mozgásérzékelő Ledvance
- mozgásérzékelő Avigilon
- mozgásérzékelő Dahua Technology
- mozgásérzékelő Eminent
- mozgásérzékelő KlikaanKlikuit
Legújabb útmutatók mozgásérzékelő
8 Április 2025
8 Április 2025
5 Április 2025
1 Április 2025
1 Április 2025
1 Április 2025
1 Április 2025
28 Március 2025
27 Március 2025
9 Január 2025