Használati útmutató MBM SAE541
MBM
nincs kategorizálva
SAE541
Olvassa el alább 📖 a magyar nyelvű használati útmutatót MBM SAE541 (70 oldal) a nincs kategorizálva kategóriában. Ezt az útmutatót 10 ember találta hasznosnak és 5.5 felhasználó értékelte átlagosan 4.3 csillagra
Oldal 1/70

IT - 1
PARTE 1 - USO
AVVERTENZE
L'apparecchio al quale si
riferisce il presente libretto
d'istruzione è costruito nel
rispetto dei requisiti delle Direttive
europee: “Bassa tensione” e
“Compatibilità elettromagnetica”.
Questa apparecchiatura è
concepita unicamente per la
cottura degli alimenti, ogni altro
tipo di impiego è da ritenersi
improprio; è destinata solo ad uso
collettivo e deve essere asservita
esclusivamente da personale
qualificato, debitamente istruito
ed usato solo per lo scopo per cui
è stato progettato.
L'allacciamento, l'installazione e
la manutenzione della
apparecchiatura devono essere
eseguite a cura di personale
qualificato secondo le norme e le
prescrizioni vigenti nel paese ed in
conformità alle presenti istruzioni.
Si consiglia, inoltre, un controllo
annuale da eseguirsi a cura di
professionisti qualificati.
Solo per modelli _SE_40,
_SE_60, SE80 prima di posizionare
e usare l’apparecchiatura
rimuovere la vite posta sulla
schiena; per un successivo
trasporto riposizionare la vite di
bloccaggio della mensola.
Posizionare l'apparecchiatura a
una quota compatibile con la
propria altezza evitando posture
scorrette e sforzi eccessivi.
Si raccomanda di non porre
materiale che possa occludere le
prese d'aria su fianco e fondo.
Non inserire le dita nelle
fessure, pericolo schiacciamento.

IT - 2
Non rilasciare la maniglia
rapidamente, pericolo
schiacciamento.
Non aprire il cruscotto e
toccare la componentistica
elettrica. Contattare il servizio
tecnico
Si raccomanda di utilizzare
l'apparecchiatura usando guanti
per la cottura e un abbigliamento
coprente tutto il corpo.
Disattivare l'apparecchiatura in
caso di guasto o cattivo
funzionamento.
La bacinella deve essere
sempre inserita durante il
funzionamento
dell'apparecchiatura.
Prestare attenzione durante il
funzionamento poiché le superfici
di cottura sono molto calde.
Si raccomanda di fare estrema
attenzione e contattare il servizio
tecnico in caso di allentamento di
parti in movimento.
Prestare attenzione che la
temperatura massima dell'area di
cottura sia compatibile con il cibo
introdotto.
Qualora l'apparecchiatura
dovesse essere sistemata vicino a
pareti, divisori, mobili da cucina,
ecc., si raccomanda che questi
siano di materiale non
combustibile; in caso contrario
dovranno essere rivestiti di
materiale isolante termico non
combustibile.
Qualora l'apparecchiatura
venisse montata a muro, utilizzare
le apposite staffe da richiedere
come optional. Non posizionarla
sopra ad altre apparecchiature
eroganti calore (frytop, friggitrici,
fuochi aperti etc).
Verificare che la parete sia in
muratura, in materiale non
infiammabile e che garantisca la
portata di un peso pari a 60 Kg.
Le staffe da fissare al muro sono da applicare
effettuando i fori nel muro secondo lo schema
di foratura riportato nello schema installazione
presente nel libretto; utilizzare 4 tasselli in
acciaio adatti per viti M6.

IT - 3
INSTALLAZIONE E COLLEGAMENTO ALLA RETE
Il costruttore declina ogni responsabilità nel
caso di danni a cose o persone provocati da
errata installazione, impropria manutenzione ed
inosservanza delle prescrizioni di sicurezza.
Togliere l'imballo dall'apparecchiatura,
rimuovere la pellicola protettiva e, se necessario,
eliminare le tracce di colla con l'ausilio di un
idoneo solvente. Si raccomanda di smaltire
l'imballo secondo le norme vigenti (per
maggiori dettagli fare riferimento al capitolo
"ECOLOGIA E AMBIENTE").
Durante l'installazione sono da osservare e
rispettare tutte le norme vigenti quali:
Norme di legge nazionali vigenti in materia;
Norme regionali e/o locali quali
regolamento edilizio;
Prescrizioni e norme dell'azienda erogatrice
dell'energia elettrica;
Norme antinfortunistiche vigenti;
Prescrizioni antincendio;
Si consiglia di installare l'apparecchio sotto ad
una cappa aspirante per l'evacuazione dei
vapori prodotti durante la cottura.
L'apparecchiatura può essere appoggiata su un
piano di lavoro o installata a parete. La distanza
da apparecchiature adiacenti o da superfici
infiammabili deve essere di almeno 300 mm dai
fianchi e 100 mm dalla parete posteriore.
L'apparecchiatura, e in particolar modo il cavo
di alimentazione, non deve essere posizionato
vicino a fonti di calore, l'ambiente circostante
all'apparecchiatura non deve superare una
temperatura di 50°C.
Prima di procedere al collegamento sono da
raffrontare i dati relativi alla predisposizione
dell'apparecchiatura (i dati tecnici si rilevano
dalla targhetta caratteristica applicata sul
pannello posteriore dell'apparecchiatura) con
l'erogazione in loco.
L'apparecchio è fornito con il cavo di
collegamento; l'installatore deve provvedere al
collegamento previa interposizione di un
interruttore principale che deve interrompere
l'erogazione di energia in modo onnipolare. I
contatti di apertura devono avere tra loro una
distanza minima di 3 mm per polo. Il dispositivo
di interruzione deve essere facilmente
accessibile.
Qualora dovesse essere
sostituito il cavo di alimentazione,
seguire le indicazioni dello
schema elettrico allegato al
presente libretto.
Il cavo di alimentazione non dovrà presentare
caratteristiche inferiori a H07 RN-F e dovrà avere
una sezione minima come indicato in copertina.
È indispensabile collegare l'apparecchiatura ad
un'efficace presa di terra. A tale scopo, sulla
morsettiera vi è un apposito attacco, identificato
dal simbolo al quale va allacciato il conduttore
di terra. L'apparecchiatura deve essere inoltre
inclusa in un sistema equipotenziale. Il
collegamento viene effettuato mediante un
apposito morsetto contrassegnato dal simbolo
posto sul pannello posteriore
dell'apparecchiatura.
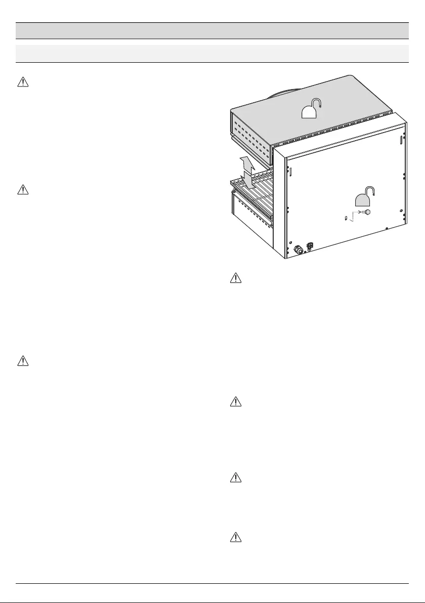
Per accedere alla morsettiera "M" rimuovere il
pannello "P" sul lato posteriore (_SE_40,
Termékspecifikációk
Márka: | MBM |
Kategória: | nincs kategorizálva |
Modell: | SAE541 |
Szüksége van segítségre?
Ha segítségre van szüksége MBM SAE541, tegyen fel kérdést alább, és más felhasználók válaszolnak Önnek
Útmutatók nincs kategorizálva MBM
10 Január 2025
10 Január 2025
27 Augusztus 2024
27 Augusztus 2024
27 Augusztus 2024
Útmutatók nincs kategorizálva
- nincs kategorizálva Westfalia
- nincs kategorizálva Catit
- nincs kategorizálva Fisher Paykel
- nincs kategorizálva Focusrite
- nincs kategorizálva Sun Joe
- nincs kategorizálva Morel
- nincs kategorizálva Strong
- nincs kategorizálva Meec Tools
- nincs kategorizálva Elipson
- nincs kategorizálva Renegade
- nincs kategorizálva Old Blood Noise
- nincs kategorizálva Manta
- nincs kategorizálva EPH Elektronik
- nincs kategorizálva Ravensburger
- nincs kategorizálva SoundLAB
Legújabb útmutatók nincs kategorizálva
10 Április 2025
10 Április 2025
10 Április 2025
9 Április 2025
9 Április 2025
9 Április 2025
9 Április 2025
9 Április 2025
9 Április 2025
9 Április 2025